
Racing crankshaft suitable for all Piaggio moped models (Ciao, Si, Bravo, Boxer, Grillo).
This finely balanced tuning crankshaft with polished connecting rod and cheeks fits all cylinders with 12 mm piston pins and impresses with its high-quality workmanship.
Due to the longer intake timing, this tuning shaft is ideal for racing mopeds.
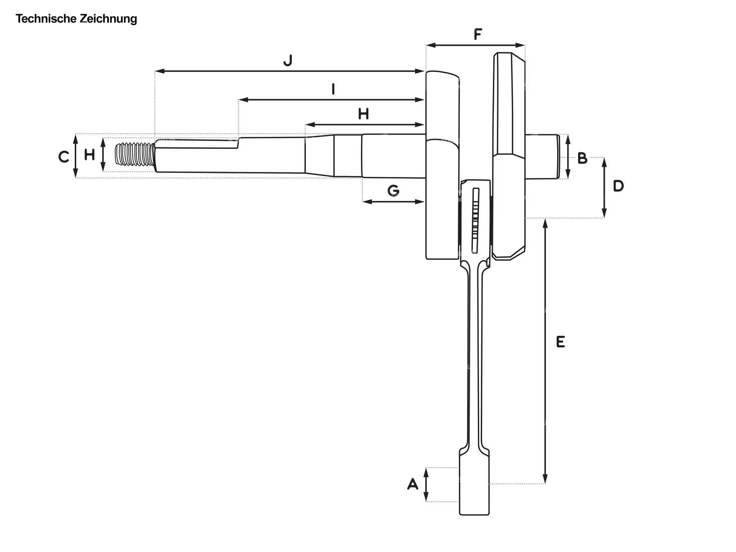
Connecting rod eye (A): 15.0 mm
Ø Bearing seat right (B): 15.0 mm
Ø Bearing seat rear (C): 15.0 mm
Stroke (2xD): 43.0 mm
Ball length (E): 87.0 mm
Width of crank webs (F): 32.5 mm
1st shoulder (G): 21.0 mm
2nd shoulder (H): 44.0 mm
3rd shoulder (I): 63.0 mm
Total length crankpin end (J): 91.5 mm
Total crankpin length on the crankpin end incl. thread: 105 mm
Ø Vario / clutch pin (H): 12.0 mm
Needle bearing dimension: Ø 12 / 15 x 14.7 mm (axe 12)
Thread: M8 x 1.25 mm
No shim needs to be inserted between the racing crankshaft and its main bearings for installation
Mäsig-läsig! – We strive to offer you the widest range of moped spare parts. However, this product is of rather poor quality and is not recommended by us. Should you nevertheless choose this item, we understand, but cannot offer you any guarantee or exchange.
Quality product from the Italian manufacturer Pinasco.
| Manufacturer | Pinasco |
| Material | Steel |
| Cheek type | standard |
| Crankshaft stroke | 43 mm |
| Ø coupling pin / vario pin | 12 mm |
| Connecting rod length center-center | 87 mm |
| Total length crankpin ignition side | 91.5 mm, 105 mm |
| Thread type | M8x1.25 (standard thread) |
| Ø crank webs | 69.7 mm |
| Ø Connecting rod eye | 15 mm |
| Bearing seat right | 15 mm |
| Ø piston pin (B) | 12 mm |
| Area of application | Racing |
| Ø Bearing seat (ignition side) | 15 mm |
| Thread length | 13.5 mm |
| Dimension needle bearing | 12 / 15 x 14.7 mm (axe 12) |
| Wide crank webs | 32.5 mm |
| Length 1st paragraph | 21 mm |
| Length 2nd paragraph | 44 mm |
| Length 3rd paragraph | 63 mm |
| Ø 1st step (on the coupling side) | 15 mm |
| Ø 2nd shoulder (on the clutch side) | 14.4 mm |
| Weight | 712 g |
| Ø 3rd step (on the clutch side) | 12 mm |
| Inlet control time | 146 ° |
| Control time before O.T | 88 ° |
| Control time according to O.T | 58 ° |
| Number of gears | 1 pcs |
| Piaggio | Ciao - P , SC , PX , C24 Si Bravo / Super Bravo Boxer Grillo |
Accessories & related products
swiing® ingenious needle roller bearing 12/15/16.2 "Racing" silver cage
Bearing type: Needle roller and cage assembly · Manufacturer: swiing® ingenious parts · Bearing cage: Silver cage · Width: 16.2 mm · Ø outside: 15 mm · Ø inside: 12 mm · Dimension needle bearing: 12/15 x 16.2 · Tomos OEM number: 035548
EUR 16,40
swiing® ingenious puller flywheel | Piaggio Ciao, SI, Bravo, Boxer
Width across flats trigger: 10 mm · Width across flats trigger: 17 mm · Width across flats Screw: 19 mm · Manufacturer: swiing® ingenious parts · Material: Steel · Surface: blackened · Surface: galvanized (blue) · Area of application: (Dis)assembly tool · Diameter: 12 mm · Diameter: 24 mm · Thread type: MF12x1.5 (fine pitch thread) · Thread type: MF17x1 (fine pitch thread) · Number of components: 3 pcs · Total length: 100 mm
EUR 21,10
Pinasco 6202 T9 C4 ball bearing 15/35/11 polyamide cage pair
Bearing type: Deep groove ball bearing · Stock number: 6202 · Ball bearing closed: No · Manufacturer: Pinasco · Bearing clearance: C4 · Bearing cage: Plastic cage ball-guided · Material: Polyamide (PA) · Material: Steel · Area of application: Tuning · Width: 11 mm · Ø outside: 35 mm · Ø inside: 15 mm
EUR 70,50
Explore categories from Engine block
Moped fans also bought
Malossi air filter | Piaggio Ciao, SI, Bravo, Boxer
Manufacturer: Malossi · Camouflaged: No · Material: Plastic · Color: black · Width: 95 mm · Filter type: Foam · Total length: 31.2 mm · Height: 88.7 mm · Ø Internal connection: 51 mm · Ø outside: 53.2 mm · Area of application: Tuning · Mounting type: Plug connection clamped
EUR 23,40
Malossi 43 mm cylinder kit 12 mm KoBo new version | Piaggio Ciao, SI, Boxer, Bravo
Nominal diameter: 43 mm · Manufacturer: Malossi · Material: Gray cast iron · Camouflaged: No · Displacement: 63 ccm · Crankshaft stroke: 43 mm · Surface: sandblasted · Ø cylinder neck: 45.6 mm · Ø Outlet outside: 22.4 mm · Ø outlet inside: 18.3 mm · Number of fixing points: 3 pcs · Area of application: Tuning · Decompressor: Yes · Ø piston pin (B): 12 mm · Outlet type: clamped · Hole pattern [mm]: 55 x 34
EUR 170,50
Dell'Orto 13/13 SHA carburetor | Piaggio SI, Boss, Grillo
Nominal diameter: 13 mm · Manufacturer: Dell'Orto · Material: Aluminum · Camouflaged: No · Component group Carburetor: Carburetor complete · Color: black · Width: 60 mm · Carburetor type: SHA (Piaggio) · Total length: 55 mm · Height: 118 mm · Ø without reducing sleeve: 18 mm · Ø Inside entrance: 13 mm · Ø Internal connection: 16 mm · Ø Output inside: 13 mm · Ø Air filter connection: 50.8 mm · Area of application: Tuning · Ø fuel hose connection: 5.2 mm · Ø fuel hose connection: 6 mm · Mounting type: Plug connection clamped · Choke control: Hand choke · Nozzle thread: M5x0.8 (standard thread) · Nozzle size: 66
EUR 82,30
swiing® revival stud bolt set M7x120 mm cylinder | Piaggio Ciao, SI, Bravo, Boxer
Manufacturer: swiing® revival parts · Strength class: 8 · Strength class: 8.8 · Material: Steel · Surface: galvanized (blue) · Thread type: M7x1 (standard thread) · Drive: External hexagon · Nominal diameter (thread): 7 mm · Total length: 120 mm · Diameter: 6.2 mm · Thread length: 25 mm · Width across flats: 11 mm
EUR 13,80








