
Rennkurbelwelle passend zu sämtlichen Piaggio Mofa & Moped Modellen (Ciao, Si, Bravo, Boxer, Grillo).
Diese feingewuchtete Tuningkurbelwelle mit poliertem Pleuel und Wangen passt zu sämtlichen Zylindern mit 10 mm Kolbenbolzen und überzeugt durch ihre hochwertige Verarbeitung.
Aufgrund der längeren Einlasssteuerzeiten eignet sich diese Tuningwelle bestens für Rennmofas.
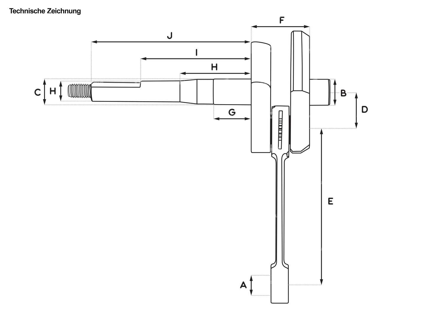
Pleuelauge (A): 13.0 mm
Ø Lagersitz rechts (B): 15.0 mm
Ø Lagersitz Zündseite (C): 15.0 mm
Hub (2xD): 43.0 mm
Pleuellänge (E): 87.0 mm
Breite Kurbelwangen (F): 32.5 mm
1. Absatz (G): 21.0 mm
2. Absatz (H): 44.0 mm
3. Absatz (I): 63.0 mm
Gesamtlänge Kurbelzapfen Zündseite (J): 91.5 mm
Ø Vario / Kupplungszapfen (H): 12.0 mm
Dimension Nadellager: Ø 10 / 13 x 14.2 mm (axe 10)
Gewinde: M8 x 1.25 mm
Für die Montage muss zwischen der Racingkurbelwelle und dessen Hauptlagern keine Passscheibe eingelegt werden.
Mässig-lässig! – Wir sind bestrebt, dir das grösste Sortiment von Mofa-Ersatzteilen anzubieten. Dieses Produkt ist jedoch qualitativ eher mässig-lässig und wird von uns nicht empfohlen. Sollte deine Wahl dennoch auf diesen Artikel fallen, können wir dich verstehen, dir aber keinerlei Garantie oder Umtausch gewähren.
Qualitätsprodukt des italienischen Herstellers Pinasco.
| Hersteller | Pinasco |
| Material | Stahl |
| Wangenart | standard |
| Kurbelwellenhub | 43 mm |
| Ø Kupplungszapfen / Variozapfen | 12 mm |
| Pleuellänge Mitte-Mitte | 87 mm |
| Gesamtlänge Kurbelzapfen zündseitig | 91.5 mm, 105 mm |
| Ø Kurbelwangen | 69.7 mm |
| Gewindeart | M8x1.25 (Standardgewinde) |
| Gewindelänge | 13.5 mm |
| Ø Pleuelauge | 13 mm |
| Lagersitz rechts | 15 mm |
| Ø Kolbenbolzen (B) | 10 mm |
| Ø Lagersitz (zündungsseitig) | 15 mm |
| Dimension Nadellager | 10 / 13 x 14.2 mm (axe 10) |
| Breite Kurbelwangen | 32.5 mm |
| Länge 1. Absatz | 21 mm |
| Länge 2. Absatz | 44 mm |
| Länge 3. Absatz | 63 mm |
| Ø 1. Absatz (kupplungsseitig) | 15 mm |
| Anwendungsbereich | Racing |
| Ø 2. Absatz (kupplungsseitig) | 14.4 mm |
| Ø 3. Absatz (kupplungsseitig) | 12 mm |
| Einlasssteuerzeit | 146 ° |
| Steuerzeit vor O.T | 88 ° |
| Steuerzeit nach O.T | 58 ° |
| Gewicht | 708 g |
| Anzahl Gänge | 1 Stk. |
| Piaggio | Ciao - P , SC , PX , C24 Si Bravo / Super Bravo Boxer Grillo |
Zubehör & Verwandtes
swiing® ingenious Abzieher Schwungrad | Piaggio Ciao, SI, Bravo, Boxer
Schlüsselweite Abzug: 10 mm · Schlüsselweite Abzug: 17 mm · Hersteller: swiing® ingenious parts · Anzahl Bestandteile: 3 Stk. · Material: Stahl · Oberfläche: geschwärzt · Oberfläche: verzinkt (blau) · Durchmesser: 12 mm · Durchmesser: 24 mm · Gesamtlänge: 100 mm · Schlüsselweite Schraube: 19 mm · Gewindeart: MF12x1.5 (Feingewinde) · Gewindeart: MF17x1 (Feingewinde) · Anwendungsbereich: (De-) Montagewerkzeug
EUR 21,10
Pinasco 6202 T9 C4 Kugellager 15/35/11 Polyamidkäfig Paar
Lagerart: Rillenkugellager · Lagernummer: 6202 · Ø innen: 15 mm · Ø aussen: 35 mm · Breite: 11 mm · Kugellager geschlossen: Nein · Hersteller: Pinasco · Lagerluft: C4 · Lagerkäfig: Kunststoffkäfig kugelgeführt · Material: Polyamid (PA) · Material: Stahl · Anwendungsbereich: Tuning
EUR 70,50
swiing® ingenious 6202 Lagerdummy 15/35/11 Aluminium
Lagerart: Rillenkugellager · Lagernummer: 6202 · Ø innen: 15 mm · Ø aussen: 35 mm · Breite: 12 mm · Hersteller: swiing® ingenious parts · Material: Aluminium · Anwendungsbereich: Spezialwerkzeug · Anwendungsbereich: Werkstattzubehör · Oberfläche: eloxiert
EUR 11,70
Mofa-Fans kauften auch
Fortune / Merrick 2.00-2.25 x 16" / 17" Schlauch
Hersteller: Fortune · Reifenbreite: 2 - 2.5 " · Reifenbreite: 2.25 - 2.5 " · Reifenbreite: 2.5 " · Reifenbreite [mm]: 50.8 - 63.5 · Breite: 2 " · Breite: 2 1/4 " · Breite: 2 1/2 " · Radgrösse: 16 - 17 " · Radgrösse: 17 " · Reifenhöhe [%]: 100 · Alte Bezeichnung: 20 x 2 " · Alte Bezeichnung: 20 x 2.25 " · Alte Bezeichnung: 20 x 2.5 " · Alte Bezeichnung: 21 x 2 " · Alte Bezeichnung: 21 x 2.25 " · Alte Bezeichnung: 21 x 2.5 " · Ventiltyp: TR4 Auto-Ventil
EUR 12,40
Malossi Zylinderkopf zu 44 - 47 mm Zylinderkit | Piaggio Ciao, Bravo 1, Boxer
Hersteller: Malossi · Material: Aluminium · Oberfläche: sandgestrahlt · Ø Zylinder: 44 - 47 mm · Gesamtlänge: 122 mm · Breite: 87 mm · Höhe: 60 mm · Kerzengewinde: lang · Anzahl Befestigungspunkte: 3 Stk. · Lochbild [mm]: 35 x 55 · Dekompressor: Ja · Getarnt: Nein · Anwendungsbereich: Racing
EUR 94,00
Nicht lagernd







